报警按钮系统安装教程

在进行报警按钮系统的安装之前,我们需要做好以下准备工作:

首先,根据实际需求确定报警按钮的安装位置。通常,报警按钮应设置在易于操作且显眼的位置,如疏散通道、出入口、重要设备附近等。

安装报警按钮需要以下工具:螺丝刀、扳手、电工胶带、绝缘胶布等。

了解报警按钮系统的规格,包括电压、电流、接口类型等,确保所购买的报警按钮与系统兼容。

以下是报警按钮的安装步骤:

在安装报警按钮之前,请确保电源已经关闭,以避免触电风险。

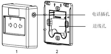
将报警按钮的底座固定在预定的安装位置。底座通常采用螺丝固定,确保底座牢固。

根据报警按钮的规格,将相应的线路连接到底座。通常包括电源线、信号线等。

连接好线路后,检查线路连接是否牢固,确保没有短路或接触不良的情况。

将报警按钮安装到底座上,确保按钮与底座紧密贴合。

在安装完成后,打开电源,测试报警按钮是否正常工作。按下按钮,观察报警系统是否能够及时响应。

在安装报警按钮时,请注意以下事项:

在安装过程中,务必注意安全,避免触电等事故发生。

在连接线路时,务必确保线路连接正确,避免因线路错误导致报警按钮无法正常工作。

在安装报警按钮时,请遵循相关安装规范,确保安装质量。
报警按钮系统的安装并不复杂,但需要注意安全、规范操作。通过以上教程,相信您已经掌握了报警按钮的安装方法。在安装过程中,如遇到问题,请及时咨询专业人士。