
随着信息化建设的不断深入,数据中心、通信基站等关键基础设施对动力环境监控系统的需求日益增长。本文旨在探讨动力环境监控系统的设计及分析方法,以提高系统性能和可靠性。

动力环境监控系统是针对数据中心、通信基站等关键基础设施的动力供应和环境条件进行实时监控的系统。其主要功能包括:对动力系统(如供配电系统、空调系统等)的运行状态进行监控;对环境条件(如温度、湿度、空气质量等)进行监测;对安全事件(如漏水、火灾等)进行预警。

1. 可靠性:系统应具备高可靠性,确保在极端情况下仍能正常运行。
2. 可扩展性:系统应具备良好的可扩展性,以适应未来业务需求的变化。
3. 易用性:系统操作界面应简洁明了,便于用户使用。
4. 经济性:在满足性能要求的前提下,系统设计应尽量降低成本。

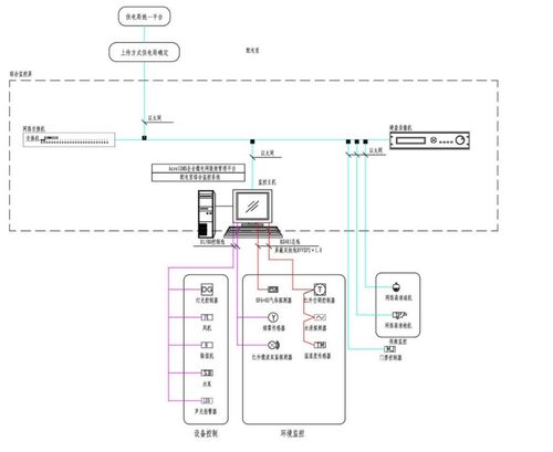
动力环境监控系统架构主要包括以下几个部分:
1. 数据采集层:负责采集动力系统和环境条件的数据。
2. 数据传输层:负责将采集到的数据传输到监控中心。
3. 数据处理层:负责对采集到的数据进行处理和分析。
4. 监控中心:负责展示系统运行状态、报警信息等。

1. 数据采集技术:采用传感器、智能仪表等设备采集动力系统和环境条件的数据。
2. 数据传输技术:采用有线或无线通信方式将采集到的数据传输到监控中心。
3. 数据处理技术:采用数据挖掘、机器学习等技术对采集到的数据进行处理和分析。
4. 报警技术:根据预设的报警条件,实时生成报警信息并通知相关人员。

以某数据中心为例,其动力环境监控系统设计如下:
1. 数据采集层:采用温度传感器、湿度传感器、空气质量传感器等设备采集机房内环境数据;采用电流传感器、电压传感器等设备采集供配电系统数据。
2. 数据传输层:采用有线通信方式将采集到的数据传输到监控中心。
3. 数据处理层:采用数据挖掘技术对采集到的数据进行处理和分析,生成机房环境趋势图、供配电系统运行状态图等。
4. 监控中心:采用图形化界面展示系统运行状态、报警信息等,便于用户实时了解机房运行情况。

1. 系统性能分析:通过对系统运行数据进行统计分析,评估系统性能指标,如响应时间、准确率等。
2. 系统可靠性分析:通过模拟故障场景,评估系统在极端情况下的可靠性。
3. 系统可扩展性分析:评估系统在业务需求变化时的可扩展性。
4. 系统安全性分析:评估系统在遭受攻击时的安全性。
动力环境监控系统在关键基础设施中发挥着重要作用。本文对动力环境监控系统的设计及分析方法进行了探讨,为实际工程应用提供了参考。随着技术的不断发展,动力环境监控系统将更加智能化、高效化,为关键基础设施的稳定运行提供有力保障。